-0%
ADAPTADORES OJO HORQUILLA REVIRADO MODELO PG-10Y ARAGCU HE1
ADAPTADORES OJO HORQUILLA REVIRADO MODELO PG-10Y ARAGCU HE2

ADAPTADORES OJO HORQUILLA REVIRADO MODELO PG-10Y ARAGCU HE CONSULTAR STOCK POR SUCURSAL

ARAGCU HERRAJES
USD 29.40
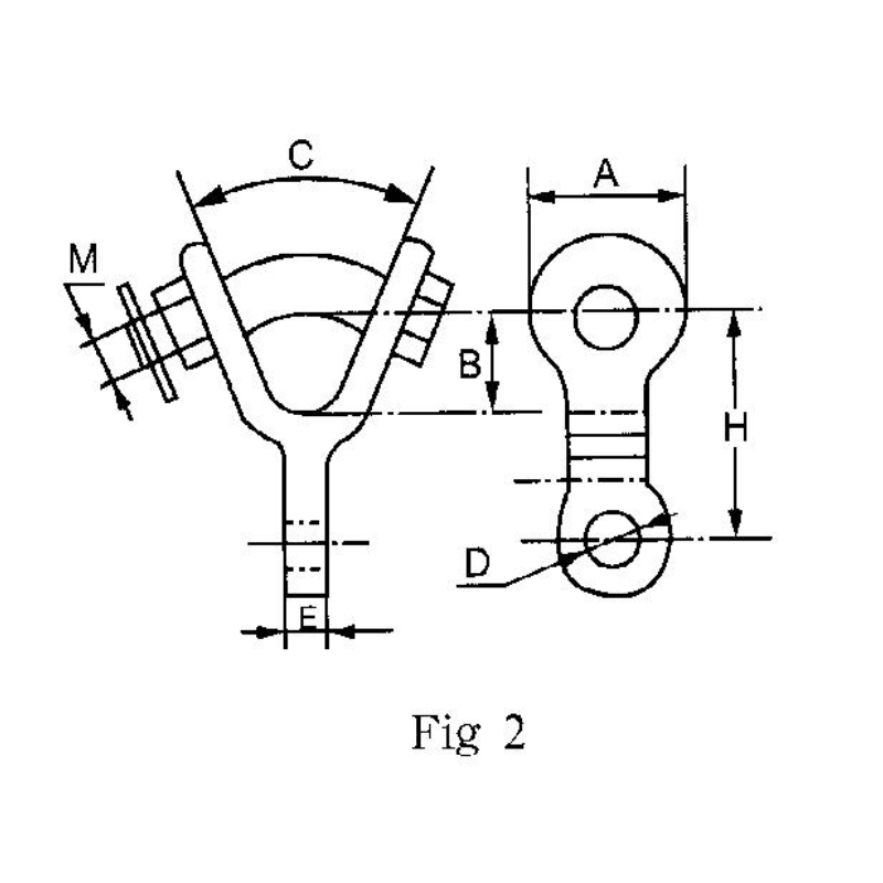
Adaptador horquilla tipo PG-10 se utilizan para conectar terminales tipo cuadrante a aisladores de lengüeta de horquilla o placas de horquilla. El pasador de chaveta está hecho de acero inoxidable, las demás piezas son de acero forjado y galvanizado por inmersión en caliente.  


FICHA TÉCNICA


Cat.  NoFig. No.Dimensiones(mm)U.T.S
(KN)
Peso (kg)
ABCDEHM
PG-10Y
2442845º22189022100
0.98


También Podría Interesarte