-0%
CUERNOS DE ARCO MODELO ZH-21 ARAGCU HE1
CUERNOS DE ARCO MODELO ZH-21 ARAGCU HE2

CUERNOS DE ARCO MODELO ZH-21 ARAGCU HE CONSULTAR STOCK POR SUCURSAL

ARAGCU HERRAJES
USD 25.80
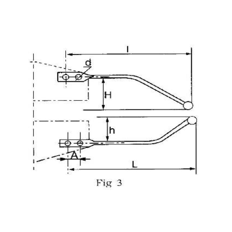
Las bocinas de arco son un conductor saliente que se usa para proteger el aislador o el hardware de conmutación del sistema de transmisión de energía de alto voltaje de daños durante la descarga disruptiva. Debido a la corriente atmosférica, la descarga de un rayo o una falla eléctrica, la sobretensión en la línea de transmisión producirá un arco (descarga disruptiva) en el aislador, dañando así el aislante. Alternativamente, las condiciones atmosféricas o los transitorios que ocurren durante la operación del interruptor pueden causar arcos en la ruta de ruptura del interruptor. La bocina de arco proporciona un camino para la ocurrencia de descargas disruptivas, sin pasar por la superficie del dispositivo protegido. La bocina generalmente se empareja en ambos lados del aislante, uno conectado a la parte de alto voltaje, el otro conectado a tierra o en el punto de ruptura del contacto del interruptor.   


FICHA TÉCNICA

Catalog. No.
Dimensiones(mm)
Fig. No.
Recomendado
Voltaje (KV)
Peso (kg)
A
D
H
L
Ø
h
ZH-21
45
14.5
270
340
16
2033110-1380.86


También Podría Interesarte