-0%
ESLABONES ANGULAR Ø17.5MM MODELO LX-11 ARAGCU HE1
ESLABONES ANGULAR Ø17.5MM MODELO LX-11 ARAGCU HE2

ESLABONES ANGULAR Ø17.5MM MODELO LX-11 ARAGCU HE CONSULTAR STOCK POR SUCURSAL

ARAGCU HERRAJES
USD 15.00
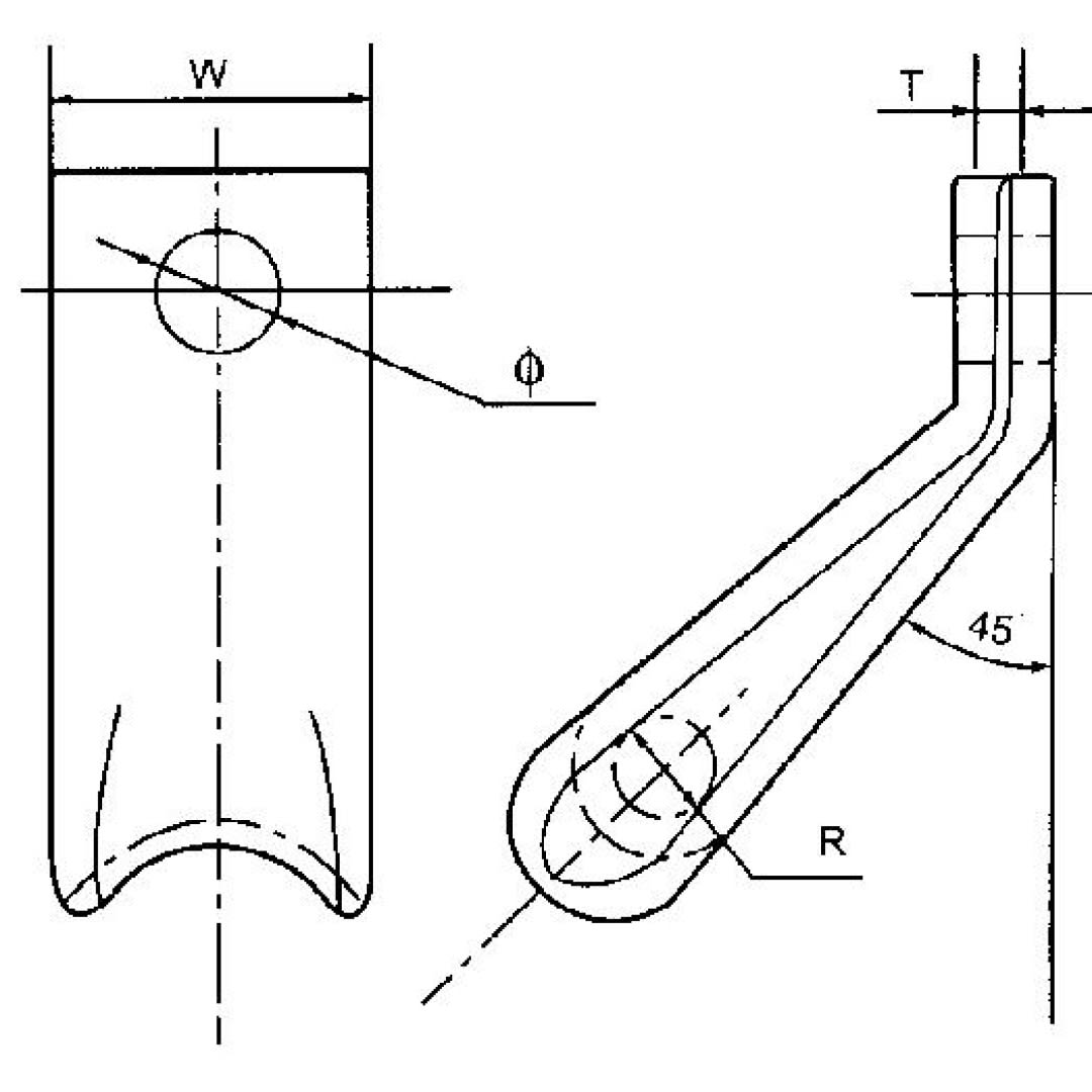
El soporte para colgar (abrazadera de suspensión) es un accesorio que se utiliza para colgar cables aéreos en una torre de postes en línea recta, que desempeña la función de colgar, agarrar y conectar con un brazo transversal o cables de tierra en el torre del poste por otros accesorios y aisladores.
El accesorio colgante también se denomina accesorio de soporte o abrazadera de suspensión, que se utiliza principalmente para colgar conductores en cadenas de aisladores (torre de postes de línea recta) y conectores de puente a aisladores.
Fabricados en acero galvanizado. 


FICHA TÉCNICA


Catalogo No.Dimensiones(mm)Peso (kg) 
WTØR(Min)
XP-71722165016mmA.B.


También Podría Interesarte