-0%
EXTENSOR HORQUILLA OJO ALARGADO 100MM 200KN D1CODIGO ARAGCU MT1
EXTENSOR HORQUILLA OJO ALARGADO 100MM 200KN D1CODIGO ARAGCU MT2

EXTENSOR HORQUILLA OJO ALARGADO 100MM 200KN D1CODIGO ARAGCU MT CONSULTAR STOCK POR SUCURSAL

ARAGCU MEDIA TENSION
USD 45.00
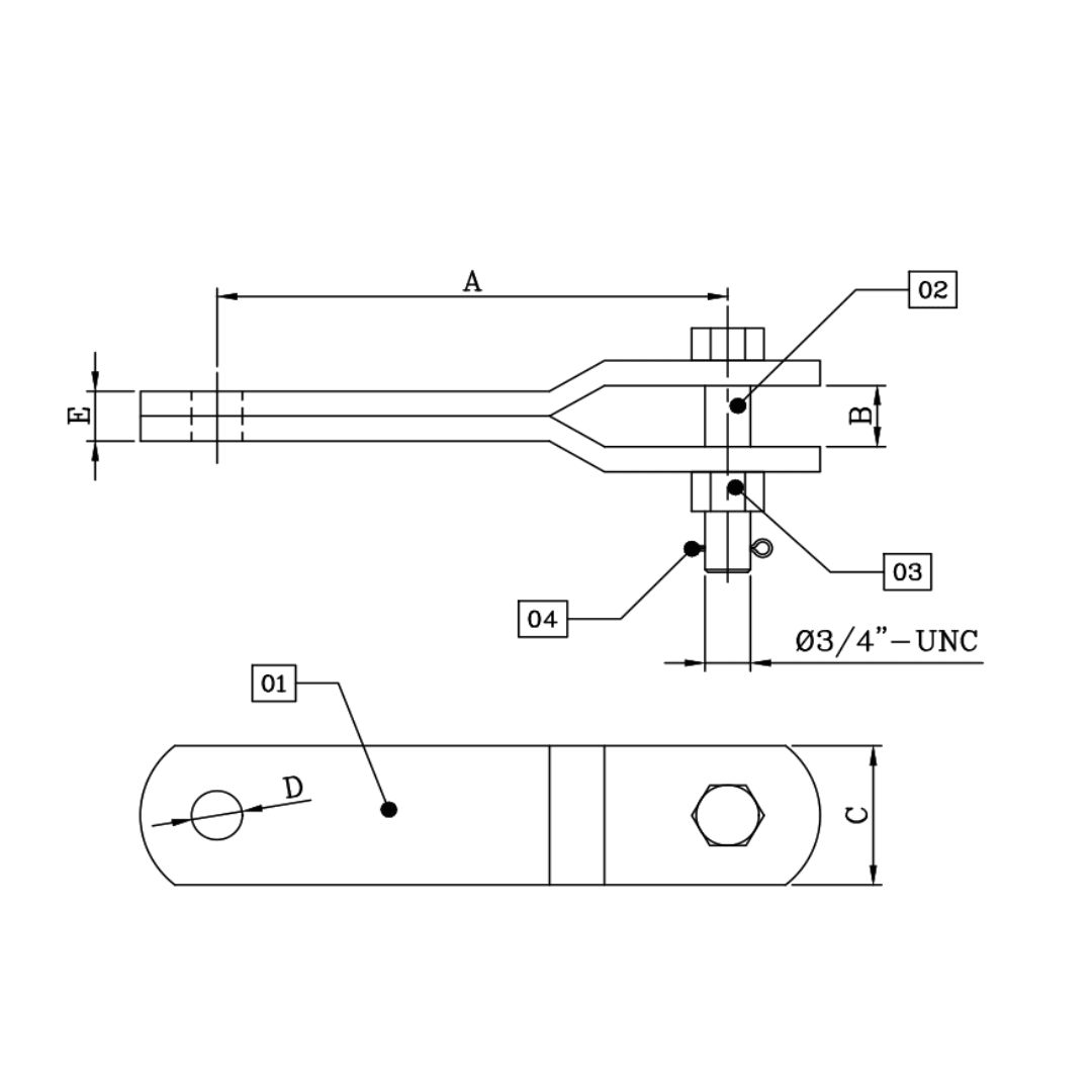
Los tensores normalmente se utilizan para aparejar o tensarcables, cabos, barras, etc. Están diseñados para tiro directo, para tensar o para trincaje.


 
MarcaARAGCU
TipoExtensor horquilla (ojo alargado)
CódigoD1CODIGO
Medida100MM
Carga de flexión200KN
Peso1.50KG
MaterialAcero  ASTM A-36 
AcabadoGalvanizado en caliente ASTM A-153
NormativaUNE/ASTM



FICHA TÉCNICA


También Podría Interesarte