-0%
CONECTORES CABLE-PLATINA DERIVACION EN ''T'' F1 C:Ø24.4-26.2MM P:100x100MM MODELO 351.462 ARAGCU EI1

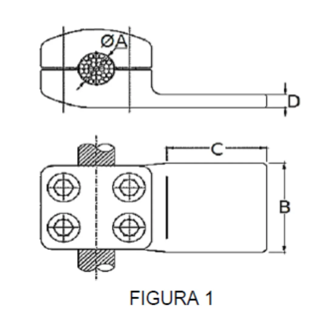
CONECTORES CABLE-PLATINA DERIVACION EN ''T'' F1 C:Ø24.4-26.2MM P:100x100MM MODELO 351.462 ARAGCU EI CONSULTAR STOCK POR SUCURSAL

ARAGCU SUBESTACIONES EI
USD 480.00
Suministro de Conectores para Subestación hasta 500 KV Fabricación de conectores en aleación de aluminio (referencial ASTM A356-T6). Diseño y pruebas Riso de temperatura referencial según Estándar ANSI NEMA CC1-2018. Ampacidad del conector garantizado 150 % I nominal (referencial según lo indicado Anexo B Estándar ANSI NEMA CC1-2018). Diseño redondeado y con perneria embutida - libre de efecto corona. Diseño bajo el concepto de ánodo masivo. DiseñodesoportabilidadporcortocircuitoreferecialanormanivelesdeincrementodetemperaturasegúnIEC61238,confuerzaselectrodinámicascompensadas
Marca BRANDE
Tipo de producto Cable
Modelo N2XSY 2 OHM
Material del conductor Conductor de cobre electrolítico
Tensión 0,6/1KV
Calibre 4x1,5MM
Sección de hebras 7
Clase del conductor 2
Peso aprox. 315 Kg/Km
Chaqueta PVC/(PVC)
Color Negro
Presentación Mts/Rollo/Carrete


FICHA TÉCNICA